Abstract:
An anti-chafing, anti-abrasion garment device is described. The device is configured to be worn between the thighs of a user, providing a buffer from skin-to-skin contact that can occur between the user’s legs during movement. The garment device, when worn properly, is configured to adequately help protect the user from erythema, edema, chafing, and irritated skin which can commonly occur during walking, running, and jogging. The device is envisioned to remove the need to employ anti-chafing creams or other topical products on the inner thighs in order to prevent skin irritations and rashes.
Inventors:
Eaton, Dewanda (Bowie, MD, US)
Application Number: 15/489585
Publication Date: 10/18/2018
Filing Date: 04/17/2017
Assignee: Eaton DeWanda
International Classes: A41D13/05
Attorney, Agent or Firm:
GREENBERG & LIEBERMAN, LLC (WASHINGTON, DISTRICT OF COLUMBIA, US)
https://www.freepatentsonline.com/y2018/0295905.html
Claims:
I claim:
1. A garment, comprising: a band of material, said band of material configured in a sleeve-like shape; and a silicone backing.
Description:
CONTINUITY DATA
This application is a non-provisional utility application of provisional utility patent application No. 62/296,447 filed on Feb. 17, 2016, and priority is claimed thereto.
FIELD OF THE PRESENT INVENTION
The present invention relates generally to garments worn on the body of a person, and more specifically to leg garments configured to act as a buffer between the person’s legs to prevent them from rubbing together.
BACKGROUND OF THE PRESENT INVENTION
Commonly, people may develop skin rashes and irritation between the thighs during or after walking. This frequently can happen on hot days, and is more prevalent on individuals with large or obese thighs. Unfortunately, this can lead to erythema, edema, and chafing, as well as conventional rashes to develop between the thighs, bringing discomfort to the individual.
There are several topical products that can be applied to ease chafing of the inner thighs. While these products are useful, they must be re-applied several times per day in order to remain effective. Therefore, the product must be carried by the consumer the entire day for repeated use. Unfortunately, this method of chafe prevention can quickly become expensive as these products such as Monistat Gel Powderâ„¢, SportSlickâ„¢, Hydropelâ„¢, and Monkey Butt Powderâ„¢, range from $6.00 to $17.00 and may require frequent purchase with continuous use in order to remain effective.
Presently there are few products on the market that attempt to address this issue. “Bandelettes†Thigh Bands with anti-chafing benefits†have been marketed to prevent skin irritation between the thighs. “Bandelettes†presently has two versions: a first made of 100% stretch, silicone-backed lace and a second, also unisex, is “Elastic Plain Soft Bands with non-slip silicone.†The majority of the reviews were positive. However, one review indicated that “they became a bit rough after washing.†Unfortunately, many lace products are not designed to remain in good condition after multiple washes and wears, as some lace items may become more abrasive after washing, potentially causing additional skin irritation when worn subsequent times.
Thus, there is a need for an affordable garment/device that uses hosiery as the band, and is configured to remain in place in order to prevent chafing and skin irritation between the thighs while remaining washable. All lace rough and doesn’t provide a smooth passing of the thighs. Lace creates more friction, especially when rubbed against other lace. Hosiery remains soft after repeated washings with or without fabric softener. There is a need for a washable garment for repeated use that will only need to be replaced after the garment has been worn down.
SUMMARY OF THE PRESENT INVENTION
The present invention is an anti-chafing garment intended to be worn on the thighs between the crotch and the knee as a supplemental undergarment. The goal is to prevent direct skin contact of the inner thighs for optimal skin integrity and to decrease the chances of compromising skin integrity, leading to conditions such as erythema, edema, and chafing. Such concerns are relevant to any person whose thighs rub together. This phenomena occurs most often when an individual wears skirts or dresses and most commonly during warm to hot weather when ambient humidity is high. Chafing and rashes can similarly occur during running or jogging in any weather.
The present invention is preferably positioned such that it is fixed in position between the thighs of the wearer, where chafing and rashes are most prominent.
BRIEF DESCRIPTION OF THE DRAWINGS
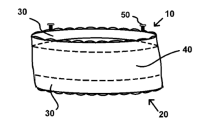
FIG. 1 shows the present invention as seen from the front.
DETAILED DESCRIPTION OF THE PREFERRED EMBODIMENT
The present invention is a leg garment composed of a band (40) of material, sleeve-like in shape, and made of silicone-backed hosiery and/or lace material. Each edge, a proximal edge (10) and a distal edge (20), has a silicone-backed stretch lace attachment (30) that is designed to prevent the garment of the present invention from sliding down the leg. The band (40) is preferably made of hosiery, however alternate embodiments of the present invention employ a band (40) composed of swimwear material, namely composed of nylon, tricot, spandex, lycra, and acetate. The band (40) is preferably elastic and durable.
This invention is envisioned to also be manufactured with heavier hosiery and/or that of a spandex-like material for the band as a medical garment. The medical garment embodiment of the present invention would omit the lace, but still have silicone-backed stretch lace attachments (30) inside the proximal edge (10) and distal edges (20) of the band (40). Individuals that have become grossly obese will benefit greatly from this invention by experiencing a smooth pass of the thighs during ambulation, therapy, and exercise. Skin integrity is maintained with consistent use of the present invention on the legs during movement.
Materials of both the medical and recreational versions of the band (40) of the present invention are preferably expandable as to adjust to different sized and shaped thighs. Each size is available in a range of thigh circumferences for a proper, comfortable fit without adjustment. It is critical that the present invention is tight enough around the user’s thigh without sliding down, yet is not too tight as to cut off circulation. For this reason, the present invention is preferably offered in a variety of different sizes, colors, and patterns, as well as crafted for different functions, such as an undergarment, or as a medical garment.
It is envisioned that alternate embodiments of the present invention may be incorporated into other articles of clothing. For example, the present invention could be configured to be sewn into pants such as tight jeans to provide added comfort and protection. They may also be configured as an extension to existing knee-high hosiery. Similarly, it is envisioned that some embodiments of the garment band (40) of the present invention may be equipped with a clasp (50) to affix the band (40) to a conventional anchor strap configured to attach to the underwear of the user, similar to conventional lingerie with leggings. However, it is the intention of the preferred embodiment of the present invention to need not employ a clasp (50) to ensure the garment device remains stationary in an approximate fixed position on the thighs of the wearer.
It is envisioned that the present invention facilitate comfortable movement and exercise of the legs of the wearer. During physical therapy, or when attempting to lose weight, an individual is often pressed to their limits physically. Similarly, running can be painful and seemingly impossible to do comfortably for obese individuals. In order to lose the weight, exercise is required. The present invention facilitates this healthy exercise by ensuring the wearer remains comfortable during the exercise, and does not rapidly develop chafing or a rash or rash-like symptom due to friction between the thighs. When wearing the present invention, friction is minimized with materials maintaining a low coefficient of friction, helping the thighs to pass together comfortably.
Having illustrated the present invention, it should be understood that various adjustments and versions might be implemented without venturing away from the essence of the present invention. Further, it should be understood that the present invention is not solely limited to the invention as described in the embodiments above, but further comprises any and all embodiments within the scope of this application.
The foregoing descriptions of specific embodiments of the present invention have been presented for purposes of illustration and description. They are not intended to be exhaustive or to limit the present invention to the precise forms disclosed, and obviously many modifications and variations are possible in light of the above teaching. The exemplary embodiment was chosen and described in order to best explain the principles of the present invention and its practical application, to thereby enable others skilled in the art to best utilize the present invention and various embodiments with various modifications as are suited to the particular use contemplated.


