Intellectual Property Blog

Patent A locking doorknob shroud

Patent EXTERNAL DOORKNOB LOCKING SHROUD

Abstract: A locking doorknob shroud, configured to be placed over a doorknob, padlock, or similar closing mechanism. The shroud is equipped with two halves which interlock together and seal firmly…

Patent Stilt

Inventors: Sharer, Shirley (Williamsport, MD) Application Number: 29/103133 Publication Date: 08/22/2000 Filing Date: 04/08/1999 United States Patent D429773

Patent AIR DAM FACILITATING DEBRIS COLLECTION

Abstract A Y-shaped air dam with a central frame configured to facilitate the focusing of air from a lawn and leaf blower for the collection of leaves and similar lawn…

Patent STEERING FOOT PEG FOR MOTORCYCLE

Abstract A steering and stabilization foot peg system and apparatus for use on motorcycles to facilitate the execution of at-speed turning of a motorcycle by a rider without the use…
OpenAI ChatGPT

How to Prevent and Block AI Bots From Scraping Your Website

What are AI scrapers and crawlers? AI scrapers are automated tools that leverage artificial intelligence technologies to crawl and extract data from websites. They function similarly to traditional web crawlers and…
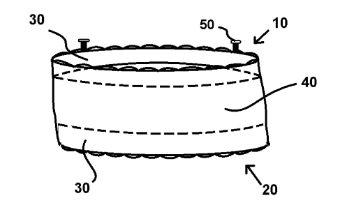
LUBRICANT PODS

Patent LUBRICANT PODS

Abstract A lubricant container configured to facilitate the delivery of lubricant steadily, over time, within a target cavity such as a vagina or anus is described. The container is composed…
Anti-Chafing Leg Garment

Patent Anti-Chafing Leg Garment

Abstract: An anti-chafing, anti-abrasion garment device is described. The device is configured to be worn between the thighs of a user, providing a buffer from skin-to-skin contact that can occur…
Screenshot of YouTube shorts

Google’s Big Win Over YouTube Shorts

“Videos shorter than 60 seconds now make up a massive portion of online content.” That’s right—since TikTok’s rise, short-form videos have become king, influencing giants like YouTube to follow suit…

Blog Categories

Latest Posts

Social Media

LinkedIn
Quora
Translate »